Ich habe meinen Luftfilter noch nicht angesehen, aber ich bin schon einige Tage am Stück durch Starkregen gefahren, ohne das es Probleme oder höheren Benzinverbrauch gab. Ich habe allerdings eine Kotflügelverlängerung, um meine Füsse möglichst trocken zu halten.
Falls es doch zu Problemen kommt, könnte ein KN Luftfilter helfen, die sind nicht aus Papier und quellen bei Feuchtigkeit nicht auf.
(Probleme kenne ich von meiner 660, die wurde unter ähnlichen Bedingungen nicht mehr ausreichend warm und der Motor starb bei Leerlaufdrehzahl ab.)
Luftfilterwechsel, Benzinschlauchschnellverschluss
- Irrlander
- Beiträge: 1499
- Registriert: Mi 26. Okt 2011, 20:15
- Erstzulassung: 2011
- Km-Stand: 100001
- Modell: DP01
- Erstzulassung der 2. XT1200Z: 0
- Km-Stand der 2. XT1200Z: 0
- Ort: Westfalen
Re: Luftfilterwechsel, Benzinschlauchschnellverschluss
unterwegs ..,um fremde Welten zu entdecken...und neue Zivilisationen
____________________________________________________________
V50,XTZ660,1000SP,Z750LTD,XT1200Z,RAPTOR650
____________________________________________________________
V50,XTZ660,1000SP,Z750LTD,XT1200Z,RAPTOR650
- rubbergum
- Beiträge: 1713
- Registriert: Mi 5. Okt 2011, 09:20
- Erstzulassung: 2011
- Km-Stand: 50000
- Modell: DP01
- Erstzulassung der 2. XT1200Z: 0
- Km-Stand der 2. XT1200Z: 0
- Ort: Wien (A)
Re: Luftfilterwechsel, Benzinschlauchschnellverschluss
Der Lufteinlass geht doch - wie man den Bildern entnehmen kann (danke WASP) - schräg nach hinten/unten weg und wird vom Zylinderkopf doch auch noch geschützt. Möglicherweise wird hier nicht das Spritzwasser angesaugt, sondern es entstand einfach viel Kondenswasser? Da hätte ich mehr bedenken, falls ich das Bike wieder einmal wasche, dass ich mich mit dem Schlauch in einem "falschen Winkel" nähere. Ich hoffe, dass sich nach dem Wechsel des Filters der Trinkkonsum wieder normalisiert.
By the way: Schöne Bilder - welche Strecke in Marokko bist du den gefahren?
Lg, rubbergum
By the way: Schöne Bilder - welche Strecke in Marokko bist du den gefahren?
Lg, rubbergum
Honda CB400N - Suzuki DL650 V-Strom - Yamaha XT1200Z SuperTenere - Honda CRF1000L AfricaTwin - BMW R1250 GSA
-
TJoe
Re: Luftfilterwechsel, Benzinschlauchschnellverschluss
Muss jetzt hier auch mal meinen Senf dazugeben.
1. Kardanfan hat absolut recht: Es ist eine Zumutung, den Luftfilter zu warten (viele Schrauben, schlecht zugänglich auch bei hochgeklapptem Tank)
2) Ich nehme den Tank lieber komplett ab. Irgendeiner hat hier geschrieben, dazu solle man Vor- und Rücklaufleitung abnehmen. Meine ST hat nur 1 Benzinleitung!
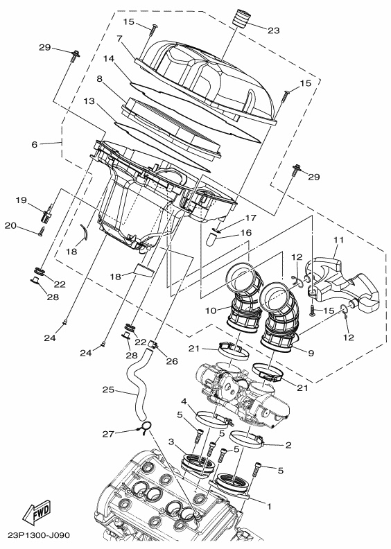
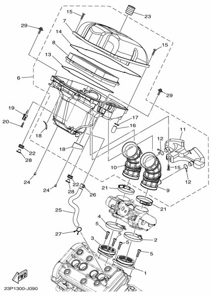
3) Ein wenig Ölnebel im Luftfilterkasten, der durch die Motorentlüftung hierher gelangt, und sich in der Airbox als Tropfenmenge niederschlägt, ist wohl ganz normal. Wieviel das ist, kann man ganz bequem bei hochgeklapptem Tank in dem durchsichtigen Plastikschnüdel links am Lufi-Kasten sehen (in der Explosionszeichnung Nr. 16, und auch auf dem Foto darunter gut erkennbar). Wenn der Schnüdel voll ist, Moped evtl. auf Seitenständer stellen, Schnüdel abziehen und gleich Lappen drunterhalten für evtl. weitere Tropfen. Lufi-Kasten "ausbluten" lassen, Schnüdel entleeren und wieder aufstecken. Habe lange rumüberlegt, wofür wohl dieser Schnüdel gut ist - dies ist meine einzige Erklärung, aber die macht auch Sinn.
4) Nochmal zur Zumutung: Wenn man (z. B. zwecks Zündkerzenwechsel) den Lufi-Kasten komplett ausbaut, muss man auch den Schlauch von der Motorentlüftung am Kasten abziehen (von unten aufgesteckt und mit Klammer gesichert). Ich habe es nicht geschafft, beim Zusammenbau den Schlauch wieder ordnungsgemäss aufzustecken und die Klammer zu montieren. Vielleicht geht das ja mit irgendeiner extra langen Spitzzange oder Special Japan Hands oder so. Habe daher die Klammer entfernt, den Schlauch komplett aufgesteckt und mit einer Standardschlauchschelle befestigt.
Alles in allem wohl wenig wirklich wüstentauglich. Aber das ist wohl bei jedem modernen Bike so oder noch komplexer. Man muss einfach seine Erfahrungen sammeln. Beim erstenmal tut's ja bekanntlich immer weh.
1. Kardanfan hat absolut recht: Es ist eine Zumutung, den Luftfilter zu warten (viele Schrauben, schlecht zugänglich auch bei hochgeklapptem Tank)
2) Ich nehme den Tank lieber komplett ab. Irgendeiner hat hier geschrieben, dazu solle man Vor- und Rücklaufleitung abnehmen. Meine ST hat nur 1 Benzinleitung!
3) Ein wenig Ölnebel im Luftfilterkasten, der durch die Motorentlüftung hierher gelangt, und sich in der Airbox als Tropfenmenge niederschlägt, ist wohl ganz normal. Wieviel das ist, kann man ganz bequem bei hochgeklapptem Tank in dem durchsichtigen Plastikschnüdel links am Lufi-Kasten sehen (in der Explosionszeichnung Nr. 16, und auch auf dem Foto darunter gut erkennbar). Wenn der Schnüdel voll ist, Moped evtl. auf Seitenständer stellen, Schnüdel abziehen und gleich Lappen drunterhalten für evtl. weitere Tropfen. Lufi-Kasten "ausbluten" lassen, Schnüdel entleeren und wieder aufstecken. Habe lange rumüberlegt, wofür wohl dieser Schnüdel gut ist - dies ist meine einzige Erklärung, aber die macht auch Sinn.
4) Nochmal zur Zumutung: Wenn man (z. B. zwecks Zündkerzenwechsel) den Lufi-Kasten komplett ausbaut, muss man auch den Schlauch von der Motorentlüftung am Kasten abziehen (von unten aufgesteckt und mit Klammer gesichert). Ich habe es nicht geschafft, beim Zusammenbau den Schlauch wieder ordnungsgemäss aufzustecken und die Klammer zu montieren. Vielleicht geht das ja mit irgendeiner extra langen Spitzzange oder Special Japan Hands oder so. Habe daher die Klammer entfernt, den Schlauch komplett aufgesteckt und mit einer Standardschlauchschelle befestigt.
Alles in allem wohl wenig wirklich wüstentauglich. Aber das ist wohl bei jedem modernen Bike so oder noch komplexer. Man muss einfach seine Erfahrungen sammeln. Beim erstenmal tut's ja bekanntlich immer weh.
-
Umsteiger
- Beiträge: 1332
- Registriert: Mo 26. Dez 2011, 20:54
- Erstzulassung: 2010
- Km-Stand: 67000
- Modell: DP01
- Erstzulassung der 2. XT1200Z: 2010
- Km-Stand der 2. XT1200Z: 0
Re: Luftfilterwechsel, Benzinschlauchschnellverschluss
Hallo
Was erwartet Ihr eigentlich vom Hersteller?
Soll er ein Motorrad so bauen, dass jeder Laie daran rumschrauben kann?
Wenn das so ist, muss die Entwicklung 50 Jahre zurückgestellt werden.
Nicht umsonst werden die Mechaniker auf Fortbildungen geschickt, eben damit sie mit den sich ändernden Anforderungen Stand halten.
Der Luftfilterkasten ist deswegen so verschraubt damit er dicht bleibt.
Für die Art von Schellen wie sie am Schlauch der Motorentlüftung ist gibt es spezielle Zangen.
Dass ein Luftfilter zugeht, der durch Sand und Regen gefahren wird, ist wohl normal.
In der Betriebsanleitung steht im Übrigen, dass er häufiger gewechselt werden muss,
wenn man durch Staub und Regen fährt.
Gruß Stefan
PS
Nicht jedem ist das Schrauben gegeben, muss es auch nicht.
Was erwartet Ihr eigentlich vom Hersteller?
Soll er ein Motorrad so bauen, dass jeder Laie daran rumschrauben kann?
Wenn das so ist, muss die Entwicklung 50 Jahre zurückgestellt werden.
Nicht umsonst werden die Mechaniker auf Fortbildungen geschickt, eben damit sie mit den sich ändernden Anforderungen Stand halten.
Der Luftfilterkasten ist deswegen so verschraubt damit er dicht bleibt.
Für die Art von Schellen wie sie am Schlauch der Motorentlüftung ist gibt es spezielle Zangen.
Dass ein Luftfilter zugeht, der durch Sand und Regen gefahren wird, ist wohl normal.
In der Betriebsanleitung steht im Übrigen, dass er häufiger gewechselt werden muss,
wenn man durch Staub und Regen fährt.
Gruß Stefan
PS
Nicht jedem ist das Schrauben gegeben, muss es auch nicht.
- Franz
- Beiträge: 2848
- Registriert: Mi 7. Sep 2011, 09:09
- Erstzulassung: 2011
- Km-Stand: 255120
- Modell: DP01
- Erstzulassung der 2. XT1200Z: 2020
- Km-Stand der 2. XT1200Z: 32500
- Modell der 2. XT1200Z: DP07
Re: Luftfilterwechsel, Benzinschlauchschnellverschluss
Mein Luftfilter wurde vomKardanfan hat geschrieben: .... Also so aufgrund meiner Erfahrung muss ich sagen, der Intervall von 40.000 km für den Luftfilterwechsel ist zu lang, bei 30.000 sollte er gewechselt werden!
Gestern habe ich ihn mir angesehen. Man war das Ding dreckig! Vor allem die vielen Insekten im Filter habe mich verwundert. Ich hätte ein Foto machen sollen.
Viele Grüße
Franz
XT 1200 Z, XT 1200 Z, V-Strom 1000, XTZ750, BMW R80G/S, XT600Z, XT500, XT500, KTM 250 GS
Franz
XT 1200 Z, XT 1200 Z, V-Strom 1000, XTZ750, BMW R80G/S, XT600Z, XT500, XT500, KTM 250 GS
- Franz
- Beiträge: 2848
- Registriert: Mi 7. Sep 2011, 09:09
- Erstzulassung: 2011
- Km-Stand: 255120
- Modell: DP01
- Erstzulassung der 2. XT1200Z: 2020
- Km-Stand der 2. XT1200Z: 32500
- Modell der 2. XT1200Z: DP07
Re: Luftfilterwechsel, Benzinschlauchschnellverschluss
Ich glaube nicht, dass das Murks, sondern Absicht ist.Kardanfan hat geschrieben: Es sind ganz einfach Fehlkonstruktionen von unfähigen Technikern und Ingenieuren .... von denen es immer mehr geben wird. Alle keine Ahnung mehr, alles wird nur noch auf dem Computer konstruiert, ausbaden tut das dann der Kunde und die armen Servicemonteure.
Aber für mich wird dieser Murks nie Standard - ich erkenne darin nur die Unfähigkeit einer Gesellschaft konstruktiv mit den techn. Entwicklungen umzugehen. Und merke, dass immer mehr auf der Strecke bleibt.
Es ist nicht gewollt, dass man selbst Hand an legt.
Die Werkstätten sollen Umsatz machen.
Viele Grüße
Franz
XT 1200 Z, XT 1200 Z, V-Strom 1000, XTZ750, BMW R80G/S, XT600Z, XT500, XT500, KTM 250 GS
Franz
XT 1200 Z, XT 1200 Z, V-Strom 1000, XTZ750, BMW R80G/S, XT600Z, XT500, XT500, KTM 250 GS
- Irrlander
- Beiträge: 1499
- Registriert: Mi 26. Okt 2011, 20:15
- Erstzulassung: 2011
- Km-Stand: 100001
- Modell: DP01
- Erstzulassung der 2. XT1200Z: 0
- Km-Stand der 2. XT1200Z: 0
- Ort: Westfalen
Re: Luftfilterwechsel, Benzinschlauchschnellverschluss
Mir wurde mal von einem Servicemechanicker erklärrt, dass die Luftfiltergehäusegröße wegen der Geschäuschvorschriften erforderlich ist, und die großen Kisten deshalb unter den Tank müssen. Vor 15 Jahren hätte der Tank, bei gleichen Aussenmassen, locker 5 Liter mehr Benzin gefasst und der Luftfilter wäre bequem hinterm Seitendeckel erreichbar.
unterwegs ..,um fremde Welten zu entdecken...und neue Zivilisationen
____________________________________________________________
V50,XTZ660,1000SP,Z750LTD,XT1200Z,RAPTOR650
____________________________________________________________
V50,XTZ660,1000SP,Z750LTD,XT1200Z,RAPTOR650
- Lars
- Beiträge: 440
- Registriert: Sa 31. Mär 2012, 11:42
- Erstzulassung: 2012
- Km-Stand: 138900
- Modell: DP01
- Erstzulassung der 2. XT1200Z: 0
- Km-Stand der 2. XT1200Z: 0
- Ort: 09633 Halsbrücke
Re: Luftfilterwechsel, Benzinschlauchschnellverschluss
Kardanfan spricht mir aus der Seele! Ein Problem einer Gesellschaft von hochspezialisierten "Fachidioten", die nur eine Sache richtig können und sonst gar nix. Irgendwann werden wir das Schei..en verlernen, aber dann wird es "Spezialisten" geben, die uns dabei helfen...
Yamaha XT600E, Husqvarna 610TE,Yamaha XT660R,Yamaha XT1200Z
-
Umsteiger
- Beiträge: 1332
- Registriert: Mo 26. Dez 2011, 20:54
- Erstzulassung: 2010
- Km-Stand: 67000
- Modell: DP01
- Erstzulassung der 2. XT1200Z: 2010
- Km-Stand der 2. XT1200Z: 0
Re: Luftfilterwechsel, Benzinschlauchschnellverschluss
@Kardanfan
Was ich aber als Unverschämtheit betrachte sind solche Anmerkungen von Unsteiger: Nicht jedem ist das Schrauben gegeben, muss es auch nicht.
Was ist daran unverschämt?? Das ist lediglich allgemein gedacht, aber ich hätte wissen müssen
dass Du Dir den Schuh anziehst.
Deine eigenen Bilder zeigen den Luftfilterkasten vorm Luftfilter und nicht nach dem Luftfilter!
(Seite 1 Bild 3u4)
Die Ansaugöffnung sitzt entgegen der Fahrtrichtung, also so gut wie möglich geschützt.
Hat somit nichts mit dem zu kurzen Fender zu tun, obwohl der wirklich länger sein könnte.
Du fährst durch Wüstensand der aufgewirbelt wird, zusätzlich kommt der Fahrtwind dazu und ein
Luftsandgemisch wird angesaugt, das durch den Filter muss, die Sandpartikel bleiben im Filter hängen.
Anschließend fährst du 3 Tage durch Starkregen, hier wird feuchte Luft angesaugt die auch wieder durch den Filter muss. Das Gemisch von Sand und Feuchtigkeit verbindet sich, dazu kommt, dass das
Filterpapier keine Zeit mehr hat zu trocknen. Deshalb der Hinweis, dass unter solchen Bedingungen
der Filter öfter gewechselt werden muss. Wo ist da der Blödsinn???
Der Luftfilterkasten ist deshalb so verschraubt damit er sich durch die ständige Wärme des
Motors nicht verzieht und dadurch falsche oder verunreinigte Luft angesaugt wird. (So sehe ich das)
Im Übrigen ist es immer noch eine Leichtigkeit Öl, Ölfilter und Luftfilter zu wechseln, wenn man sich mit der Sache befasst und nicht gleich lospoltert das alles eine Fehlkonstruktion ist.
Ich bin auch davon überzeugt, dass ein Kawa Schrauber genauso gut bei Yamaha schrauben kann,
er muss sich halt mit den neuen Gegebenheiten vertraut machen.
Und damit ist das auch für mich beendet, weil es einfach keinen Sinn macht.
Was ich aber als Unverschämtheit betrachte sind solche Anmerkungen von Unsteiger: Nicht jedem ist das Schrauben gegeben, muss es auch nicht.
Was ist daran unverschämt?? Das ist lediglich allgemein gedacht, aber ich hätte wissen müssen
dass Du Dir den Schuh anziehst.
Deine eigenen Bilder zeigen den Luftfilterkasten vorm Luftfilter und nicht nach dem Luftfilter!
(Seite 1 Bild 3u4)
Die Ansaugöffnung sitzt entgegen der Fahrtrichtung, also so gut wie möglich geschützt.
Hat somit nichts mit dem zu kurzen Fender zu tun, obwohl der wirklich länger sein könnte.
Du fährst durch Wüstensand der aufgewirbelt wird, zusätzlich kommt der Fahrtwind dazu und ein
Luftsandgemisch wird angesaugt, das durch den Filter muss, die Sandpartikel bleiben im Filter hängen.
Anschließend fährst du 3 Tage durch Starkregen, hier wird feuchte Luft angesaugt die auch wieder durch den Filter muss. Das Gemisch von Sand und Feuchtigkeit verbindet sich, dazu kommt, dass das
Filterpapier keine Zeit mehr hat zu trocknen. Deshalb der Hinweis, dass unter solchen Bedingungen
der Filter öfter gewechselt werden muss. Wo ist da der Blödsinn???
Der Luftfilterkasten ist deshalb so verschraubt damit er sich durch die ständige Wärme des
Motors nicht verzieht und dadurch falsche oder verunreinigte Luft angesaugt wird. (So sehe ich das)
Im Übrigen ist es immer noch eine Leichtigkeit Öl, Ölfilter und Luftfilter zu wechseln, wenn man sich mit der Sache befasst und nicht gleich lospoltert das alles eine Fehlkonstruktion ist.
Ich bin auch davon überzeugt, dass ein Kawa Schrauber genauso gut bei Yamaha schrauben kann,
er muss sich halt mit den neuen Gegebenheiten vertraut machen.
Und damit ist das auch für mich beendet, weil es einfach keinen Sinn macht.